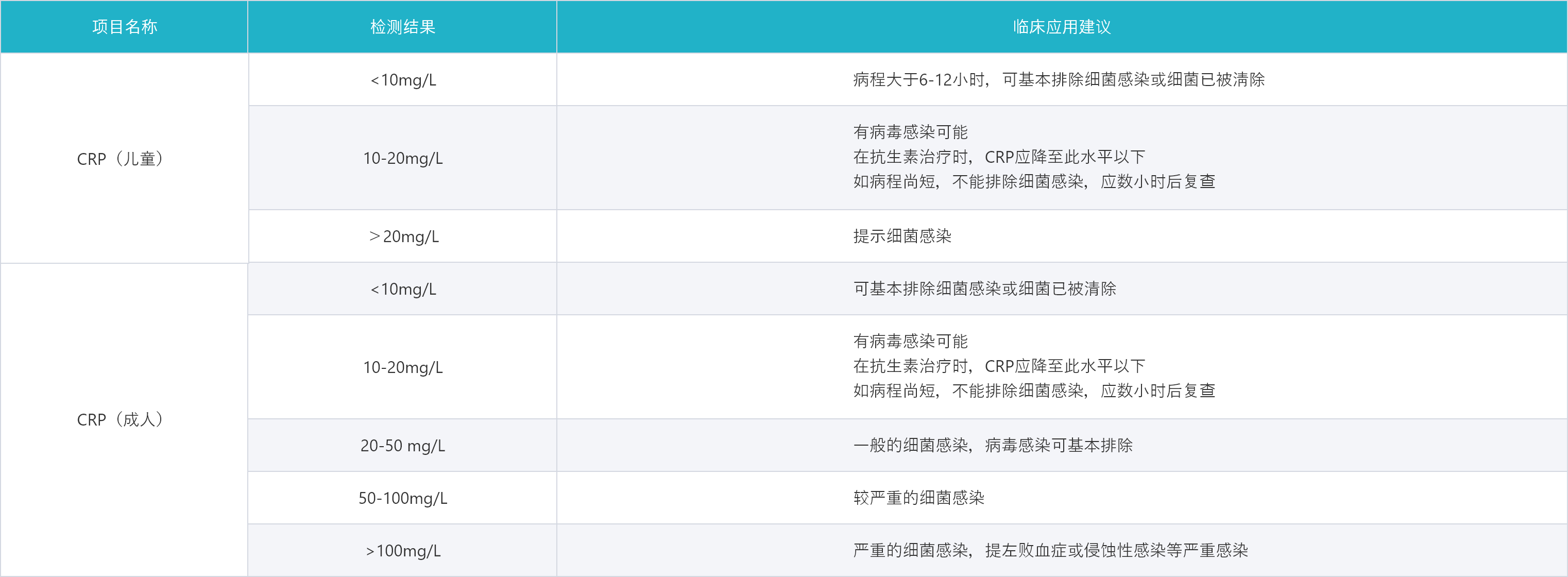
CRP/SAA联检

感染性疾病诊断CRP/SAA联合检测的优势

  • CRP/SAA联合检测的优势

    (1)CRP和SAA都是临床广泛使用的感染标志物,认知度较高;
    (2)联合检测比单独测CRP或者SAA,具有更高的灵敏度和特异性。

  • CRP/SAA联合检测临床意义

    (1)在病毒感染中,SAA有较高的敏感性;
    (2)细菌感染初期SAA上升的幅度要明显高于CRP。所以CRP/SAA 联合检测可用于鉴别细菌和病毒感染。

  • CRP/SAA联合检测临床应用

    (1)可早期识别感染类型,合理使用抗生素;
    (2)动态监测对于严重感染可早发现,并监测治疗效果。

糖化血红蛋白

产品参数
搭配一次性末梢血采样器操作流程图
检测项目